| Availability: | |
|---|---|

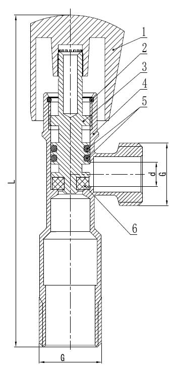
Model & Structure Dimension
| Model | Size | D(mm) | L(mm) |
| TJF050 | 1/2" | 8 | 102.5 |
Material List
| NO. | Name | Material | QTY |
| 1 | Handle | Zinc Alloy/Chrome Plated | 1 |
| 2 | Spring Clip | Stainless Steel | 2 |
| 3 | Stem | Brass | 1 |
| 4 | Body | Brass/Chrome Plated | 2 |
| 5 | O-RING | EPDM | 1 |
| 6 | Gasket | EPDM | 1 |


Model & Structure Dimension
| Model | Size | D(mm) | L(mm) |
| TJF050 | 1/2" | 8 | 102.5 |
Material List
| NO. | Name | Material | QTY |
| 1 | Handle | Zinc Alloy/Chrome Plated | 1 |
| 2 | Spring Clip | Stainless Steel | 2 |
| 3 | Stem | Brass | 1 |
| 4 | Body | Brass/Chrome Plated | 2 |
| 5 | O-RING | EPDM | 1 |
| 6 | Gasket | EPDM | 1 |
